取付可能なドアと金物


 
1. 木、ガラス、金属、樹脂、どんな素材のドアでも、開き戸、引戸、折れ戸、玄関、室内にネジ穴2つを開けるだけで取付可能です。
2. 木製室内ドア専門メーカー( Comlux神谷コーポレーション)や建具屋さんが作る開き戸には、ドアクローザーやローラーラッチを取付けて下さい。
3. パナソニックVERITIS、大建工業hapia、プレーリーホームズなどの室内開き戸にはラッチなしを指定し、必要ならドアクローザーやローラーラッチを取付けて下さい。
4. アルミ建材メーカー(Lixil, YKKap, 三協アルミなど)の玄関ドアへの取付けは当社か施工業者様とご相談ください。
5. 当社製品の取付実績のないハウスメーカーの場合は初めは断られたりしますが、ドアハンドルは施主支給にして、上述のメーカーなどから取付可能なドアをお選びください。
6. ドアによっては、ハンドル取付部分に芯材の補強が必要となります。

室内ドア+ローラーラッチ

ドアクローザーと併用すると、ドアがカチッと閉まります。当社では販売しておりませんので金物屋さんにご注文ください。
ローラーラッチ_写真 すがたかたち

 

室内ドア+マグネット

ドアクローザーやローラーラッチを取付けない場合、風による開き防止にはマグネットの取付がおすすめです。
無料で2ケ同梱します。ご希望の方はショッピングカート内の備考欄に記入してください。
ネオジウムφ10×10mm
1、ドアと枠(横か縦)にマグネット取付の位置決めをする。より強力にするには2ケ所につける。

 
2、ドリルφ10で枠に深さ10mmの穴を開ける。

 
3、マグネットに接着剤を付けて枠に埋込む。

 
4、ドアにも穴を開けてマグネットを接着し埋込む。

 
5、室内側から風が吹いても強力な磁力でドアは開きません。

強化ガラスドアへの取付について

強化ガラスドアへの取付については、穴のサイズに関わらず、当社でご用意できますのは、M5ボルト用φ8mmチューブか、M6ボルト用φ9mmチューブです。この他にプロテクトゴム、クッションシートなどガラスを保護するものが必要な場合は施工者様でご用意くださるようお願いいたします。
 
〜ガラスや金属ドアの片側のみに取付ける場合〜
市販の化粧金具と取付ビスをお使いください。詳しくは「 ねじ頭をかくす方法」をご覧ください。

スパへの取付例

オフィスへの取付例

Q. お店のドアに付けたいのですがどうですか?お客様の声をお聞きください▶︎

実は全国各地の商店にお使い頂いており、好評です。
ガラス戸やスチールでもOK。お店の目印・シンボルにもなります。

Q.木製ドアハンドルは壊れやすく無いですか?

経年美化 : すがたかたち木製ドアハンドルはビンテージ家具の様に使い込む程に風合いが深まり、年月を経て小傷などによる複雑なテクスチャーと色味の変化のエイジングを楽しめます。
使用場所 : 屋外では庇があり、雨や直射日光に当たらない場所でお使い下さい。
お手入れ : 水濡れや汚れた時は乾拭きし、万一ガタツキが出たときはネジを締め直します。
すがたかたち品質へのこだわりをご覧ください。▶︎

Q.サイズや取付穴の位置、ピッチを変えることはできますか?

DH-A2, Minimal シリーズなら可能ですので、Webフォームからお問い合わせください。

 Q.現在のドアに付いているハンドルから取替え可能ですか?

 注)既存のラッチとは連動しません。ローラーラッチとの交換などが必要な場合があります。
1. 古いレバーハンドルから当社ドアハンドルに取替える。
まず、レバーやラッチの穴を埋めてから、当社ドアハンドルを取付けてください。
2. 古い棒状のドアハンドルから当社ドアハンドルに取替える。
DH-A2, Minimal なら、穴の位置を合わせられる場合があります。
ドアハンドルの写真と寸法と状況などをそえて、Webフォーム からお問い合わせください。

 Q.ドアハンドルのコロナウイルス対策にはどんなクリーナーを使ったら良いですか?

オスモウイルスクリーナーは、拭くだけで新型コロナウィルスを不活性化させます。製品紹介▶︎


 
【ご注意】
石膏ボード、下地無しの壁への取付は、強度が出ないためおすすめできません。

どうしてもお使いになる場合は、石膏ボード用プラグを挿入してお使いください。(石膏ボード用プラグは付属されていません)
ドアノブとしてお使いの場合、鍵やラッチとは連動しませんので、ローラーラッチを使いますとドアがカチッと閉まります。
 

1. T型スペーサーφ10×30mm HS-A/B/D/F CH-CS/CM

 
ハンガー&ノブ_T型スペーサーΦ10×30mmの場合_図 すがたかたち

梱包内容
木部ヘッド(オイル仕上げ), T型スペーサー 30mm, 木ネジ M6×70mm (ネジが壁に27mm入ります)
 
取付方法
1. キリやドリルで下穴を φ4.5mm 程度開けてください。
2. 木部ヘッドに木ネジとT型スペーサーを図1のようにセットします。
3. 図1のように木部ヘッド部を手で持ち、下穴に木ネジを合わせ、最後までねじ込みます。
4. 木部ヘッドの向きを調整したい時は、一端スペーサーを抜き、木部ヘッドに木ネジを入れ、好み の向きになるまで壁に ねじ込みます。木ネジは逆回転できませんので、慎重に少しだけ回してください。ねじ込みすぎると、木部ヘッドが 取付けられなくなります。
5. 木部の向きが良いか確かめて、スペーサーを再セットし、きつめに回すとヘッドが外れにくくなります。
 
 

2. スペーサーφ8×30 or 40mm HSシリーズの一部に使用

 
ハンガー&ノブ_スペーサーφ8×30 or 40mmの場合_図 すがたかたち

梱包内容
木部ヘッド(オイル仕上げ), スペーサー30 or 40mm(木ネジは壁に20mm入ります)
 
取付方法
キリやドリルで下穴を開けると後の作業がしやすいです。
1. 円筒形のスペーサーにネジを通し、図1のように+ドライバーで壁、柱等にねじ込みます。
2. 図2のように木部ヘッド裏の金具部分を合わせ、くるくると回して固定してください。
3. 木部の向きが良いか確かめて、最後に少しだけ、きつめに回すとヘッドが外れにくくなります。
 ※ 木部ヘッドを回してねじ込むと金具の接着が取れる場合があります。
 ※ 木部ヘッドの向きは、木ネジの締めつけ具合で多少調整できますが、なりゆきです。
 
 

3. DKシリーズ, CH-01/02/03/04

 
ハンガー&ノブ_HとDKシリーズに適用(ハンガーボルト)の場合_図 すがたかたち

梱包内容
木部ヘッド(オイル仕上げ)
M4×15 ハンガーボルト(壁に15mm入る。柱・板に直付けの場合
M6×60 ハンガーボルト(壁に30mm入る。石膏ボードで下地有りの壁
※壁側が木ネジ、木部ヘッド側がボルトになっています。
 
取付方法
キリやドリルで下穴を開けると後の作業がしやすいです。
1. ハンガーボルトを木部ヘッドに取付けます。
2. 図1のように木部ヘッドを持ち、くるくると回して壁に固定してください。
3. 木部の向きが良いか確かめて、最後に少しだけ、きつめに回すとヘッドが外れにくくなります。
 ※ 木部ヘッドの向きは、木ネジの締めつけ具合で多少調整できますが、なりゆきです。
 ※DK-19S,DK-22S は奥行きが短いのでコートハンガーとしてのお使いは出来ません。
 
 

4-1. ドアノブとして取付け HS-A/B/D/F CH-CS/CM 図1

梱包内容
木部ヘッド(オイル仕上げ)
M6 寸切ボルト, I型スペーサー(ステンレスφ17.5×25mm:2個 または 真鍮φ17.5×20mm:2個)
取付方法
1. 取付位置を決め、φ6mmの貫通穴を1カ所開けてください。
2. I型スペーサーにM6寸切ボルトを通し、木部ヘッドの裏側のナットにねじ込みます。
3. ボルトをドアに通し、片方の木部ヘッドをくるくると回してドアに固定します。
 

4-2. ドアノブとして取付け CH-01/02/03/04 DKシリーズ 図2

梱包内容
木部ヘッド(オイル仕上げ), M4 寸切ボルト
取付方法
1. 取付位置を決め、φ4mmの貫通穴を1カ所開けてください。
2. M4寸切ボルトを木部ヘッドの裏側のナットにねじ込みます。
3. ボルトをドアに通し、片方の木部ヘッドをくるくると回してドアに固定します。

 


 
 

5. 家具つまみ・扉の引手として取付け CH-01/02/03/04 ML-D DKシリーズ

 
ハンガー&ノブ_家具つまみ・扉の引手としてお使いの場合_図1 すがたかたち

 
梱包内容
木部ヘッド(オイル仕上げ), M4 小ねじ
 
取付方法
1. 取付位置を決め、φ4mmの貫通穴を1カ所開けてください。
2. 小ねじを板に通し、木部ヘッド裏側のナットに+ドライバーでねじ込みます。

 

1. 木のドアの色に合わせたカバーキャップを貼るだけです。

 

ご購入はこちら(ねじナビ)▶︎
 

2. 木製ドアと同色の木栓で隠します。

DIYでする場合は、ホームセンターで木栓Φ10×厚み約6mmを購入し、ドアと同色に塗ることをおすすめします。
施工業者に頼む場合はドアと同種の材の木棒を作ります。
 

3. ガラスや金属ドアの場合は化粧金具を取付ビスM6にピンで回し締め付けます。

 

ユニオンカタログはこちら▶︎
化粧金具を取付する場合はドアハンドル内のナットをM5からM6に変えますので、ショッピングカート内の備考欄にご記入ください。
※化粧金具は当社では販売しておりませんので金物屋さんにご注文ください。
 

 

 

経年美化 

木製ドアハンドルはビンテージ家具の様に使い込む程に風合いが深まり、年月を経て小傷などによる複雑なテクスチャーと色味の変化のエイジングを楽しめます。
新品同様に戻すには、下記のメンテナンスの4を行ってください。お送りくだされば無償で研磨し、オイル仕上げ致します。往復送料のみご負担ください
注)屋外では庇があり、雨や直射日光に当たらない場所でお使い下さい
 

すがたかたち木製ドアハンドルのメンテナンス

1. 日常使いで濡れた時は乾拭きし、万一ガタツキが出たときはネジを締め直します。
2. 皮脂汚れを落とすにはオスモウオッシュアンドケアーをお使いください。
3. 頑固な汚れ落としとワックスがけにはオスモワックスアンドクリーナーをお使いください。半年に1回程度。
4. 数年後、色が深みを増して来て、味と風格が出て来ますが、手あかが気になるようであれば、サンドペーパー#240で研磨し、その後オスモカラーフロアークリアを綿布に少し取り擦り込みます。これで元の様な色合いに戻ります。
5. 強い直射日光が常に差す場所で使用すると、オールナットのチョコレート色が退色し白化して行きます。その様な場合は、オスモカラー・ウッドステインプロテクターでの再塗装をおすすめします。
*メンテナンスについて分からない事がありましたら、写真を送って頂けると、より詳しくアドバイスさせて頂きます。info@sugatakatachi.com
*毎日、丁寧に使って頂く事でいつまでも艶が保たれます。
 
【メンテナンス用具】
1. ドイツ製高級植物性クリヤーオイル
2. 綿布
3. サンドペーパー#240
 
【手順】
1. ドアハンドル、オイル、綿布、サンドペーパー#240を用意します。

 
木製ドアハンドル_メンテナンス_写真1 すがたかたち

 
2. ドアハンドルの汚れ具合を確認します 。
 
木製ドアハンドル_メンテナンス_写真2 すがたかたち

 
3. サンドペーパーをていねいに木目に沿ってかけます。
 
木製ドアハンドル_メンテナンス_写真3 すがたかたち

 
4. 汚れを拭き取り、汚れ落ちの具合を確認します。
 
木製ドアハンドル_メンテナンス_写真4 すがたかたち

 
5. オイルを綿布に少し取り擦り込みます。
 
木製ドアハンドル_メンテナンス_写真5 すがたかたち

 
6. すっかり元のようにきれいになりました! 半日ほど乾かして完成です。
 
木製ドアハンドル_メンテナンス_写真6 すがたかたち

 ハンドルのガタつきを直す手順

注)ドアの開閉や温度・湿度の変化による建具の伸び縮みで、ガタつきが起こることがあります。
 
1 . 六角レンチ2.0でホーローねじ(図のC)をゆるめ、内側ドアハンドルを外します。
 
2. +ドライバーでバインドねじ(図のD)をゆるめ、外側ドアハンドルを外します。
 
3. 外側ドアハンドルのねじ穴・内側ドアハンドル内部の座金(図のE)、ソケット型金具に変形がないか確認してください。
 もし、変形があった場合は、info@sugatakatachi.comに写真を送ってください
 
4. 3で故障が見られなければ、バインドねじ(図のD)のゆるみと考えられます。+ドライバーで外側ドアハンドルを取り付け直し、外側ドアハンドルにガタつきがないか確認してください。もし、ガタつく場合は、ボルトが長すぎる・又はドアの穴が大きすぎるので、ドア厚とバインドねじ(図のD)長さを測り、ドア穴の写真と併せて送ってください
 
5. ここまでグラつきがなければ内側ドアハンドルを取り付けます。六角レンチ2.0でホーローねじ(図のC)を締め、内側ドアハンドルがグラつかないか確認してください。もし、グラつく場合は、内側ドアハンドル内のソケット型金具のゆるみが考えられます。ソケット型金具の底にあるネジを+ドライバーで締めてください。
 
6. 以上で直らなければ、まず、お電話ください。028-662-6934
 ドアハンドルの金具などに故障があれば、無償で交換致しますので、現品をお送りください。

 

 製作者が自ら焼印したブランドマークは、すがたかたち全製品への品質保証のあかしです。

 

マークは製品の裏側に押して有りますが、必ずしも製品の天地を表すものでは有りません。お取付の上下はお客様のお好みで決めていただけます。

 保証期間はお買上日より5年間です。

1. 保証対象商品:ドアハンドル、手すり、コートハンガー 
2. 保証内容:木部の割れ
3. 保証対応:適正な使用状態で木部に割れが生じた場合は、無償で修理・交換いたします。

 

 

 PL保険(生産物賠償責任保険)加入しています。

 

製造した製品の欠陥により、他人が死傷したり、他人の財物を滅失、破損または汚損した場合、製造業者が賠償責任を負う、PL法が1995年に施工されました。すがたかたちでは、強度試験実施後に、厳格な品質管理のもと製造にあたっておりますが、もしもの製品の不具合による事故に備えPL保険(生産物賠償責任保険)に加入しております。

ドアハンドル取付け動画

ドアの内外両側にドアハンドルを取付ける方法

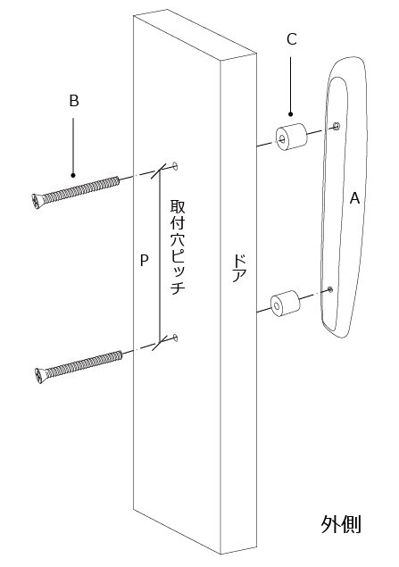
梱包内容・各部名称

A 外側ハンドル : 1本
B 内側ハンドル : 1本
C ホーローねじ M4:4本 内蔵
D バインドねじ M5×50〜90:2本
E 取付座金 : 2個 内蔵
※C・Eは梱包時に内側ハンドルにセットされています。
取り出してお使いください。
 

取り付け方法

1. 取り付け位置を決め、φ 6 mmの貫通穴をドア2ケ所あける。

2. 内側からバインドねじ D で取付座金 E に通し外側ハンドル A をドアに固定する。
3. 取付座金 E に内側ハンドル B を取り付ける。
4. ホーローねじ C を六角レンチで締める。 モデルにより、ねじの向きが たて位置とよこ位置の取付があります。

DH-A2S/M/L   DH-DS/M   DH-E/P/R/U

 

梱包内容・各部名称

A  外側ハンドル  : 1本
B  内側ハンドル : 1本
C  ホーローねじ M4:4本
D  バインドねじ M5 or M6:2本
E  取付座金 : 2個
F  スペーサーΦ18×26.5(A2SのみΦ17.5×25) : 2個
G  ブラケットΦ18×26.5(A2SのみΦ17.5×19) : 2個
H  小ねじ : 2本 
  

取り付け方法

1. 取り付け位置を決め、φ 6 mm前後の貫通穴をドアに2ケ所あける。

2. 内側からバインドねじ D を取付座金 E とスペーサー F に通し外側ハンドル A をドアに固定する。
3. 取付座金 E に内側ハンドル B を取り付ける。
4. ホーローねじ C を六角レンチで締める。

強化ガラスドアへの取り付けについては、穴のサイズに関わらず、当社でご用意できますのは、M5ボルト用φ7mmチューブか、M6ボルト用φ8mmチューブです。この他にプロテクトゴム、クッションシートなどガラスを保護するものが必要な場合は施工者様でご用意くださるようお願いいたします。

ドアの片側のみにドアハンドルを取付ける方法

梱包内容・各部名称

A 外側ハンドル:1本
B 皿小ねじ M5:2本 
 

取り付け方法

1. 取り付け位置を決め、φ6 mmの貫通穴をドアに2ケ所あける。
2. 皿小ねじ B でハンドル A を固定する。
注)・ねじ頭を木栓で隠すと、より美しい仕上がりになります。 
  ・または市販のカバーキャップを貼ります。
  ・ガラスや金属ドアの場合は市販の化粧金具+取付ビスをお使いください。
  ・詳しくはねじ頭をかくす方法でご覧ください。

DH-A2S/M/L   DH-DS/M   DH-E/P/R/U

梱包内容・各部名称

A  外側ハンドル:1本
B  皿小ねじ M5 or M6:2本
C  スペーサーΦ17.5×25ステンレス or Φ17.5×20ブラス : 2個
 

取り付け方法

1. 取り付け位置を決め、φ6 mm前後の貫通穴をドアに2ケ所あける。
2. 皿小ねじ B をスペーサー C に通しハンドル A を固定する。
注)・ねじ頭を木栓で隠すと、より美しい仕上がりになります。 
  ・または市販のカバーキャップを貼ります。
  ・ガラスや金属ドアの場合は市販の化粧金具+取付ビスをお使いください。
  ・詳しくはねじ頭をかくす方法でご覧ください。

 壁・柱に手すりとして取付ける方法

梱包内容・各部名称

B ハンドル : 1本
C ホーローねじ M4:4本 内蔵
D タッピングねじ M5:2本
E 取付座金 : 2個 内蔵
※ C・Eは梱包時にハンドルにセットされています。
取り出してお使いください。
 

取り付け方法

1. 取り付け位置を決め、φ3mmの下穴を2ケ所あける。

2. タッピングねじ D で取付座金 E を壁・柱に固定する。
3. 取付座金 E にハンドル B を取り付ける。
4. ホーローねじ C を六角レンチで締める。モデルにより、ねじの向きが たて位置とよこ位置の取付があります。
※ 石膏ボード壁の下地には充分な強度を備えてください。

壁・柱に手すりとして取付ける方法_写真1 すがたかたち
壁・柱に手すりとして取付ける方法_写真2 すがたかたち
壁・柱に手すりとして取付ける方法_写真3 すがたかたち

DH-A2M/L   DH-E/R/U

梱包内容・各部名称

A ハンドル : 1本
B ブラケットΦ18×26.5ステンレス : 2個
C ホーローねじ M4:4本 内蔵
D 小ネジ : 2本
E タッピングねじ M5:2本
F 取付座金 : 2個 
 

取り付け方法

1. 取り付け位置を決め、φ3mmの下穴を2ケ所あける。

2. タッピングねじ E で取付座金 F を壁・柱に固定する。
3. 取付座金 F にブラケット B とハンドル A を取り付ける。
4. ホーローねじ C を六角レンチで締める。
※ 石膏ボード壁の下地には充分な強度を備えてください。

ご注意とお手入れ方法

◎ 取り付けピッチは型番によって異なります。
◎ 雨がかかる場所には設置しないで下さい。濡れた場合は乾拭きして下さい。
◎ 使う程ツヤが増します。汚れた場合のみ固くしぼった雑巾で水拭きして下さい。

◎ ツヤがなくなりましたら、天然植物オイルを布で薄くすり込んで良く拭き上げて下さい。

◎ 取り付けねじが緩んだ時は、ねじを締め直して下さい。

HOME